DA40 TDI Fuel Transfer Bug -- 1 year anniversary

One year ago, I found out that the fuel pump of the DA40 TDI is not working. It should transfer fuel from the right tank to the left tank, but instead it does… nothing. It works perfectly in the DA40 NG, so it should be easy to copy the fuel pump logic over to the TDI.

The bug has been reported to Zendesk multiple times by myself and other users and there are several threads mentioning the issue. As all of them have been archived by now, I wanted to take this 1 year anniversary as an opportunity to create a new thread so that we can discuss the issue again and hopefully raise awareness.

The DA40 TDI is such a nice plane to fly and fixing the bug would enable us to fly the plane according to real world procedures.

Related threads:
Original thread on the issue: https://forums.flightsimulator.com/t/da40-tdi-fuel-transfer-not-working/154954

This is the bug that annoys me the most. After every update, I try DA40 TDI to see if it is fixed. Still doesn’t work.

I would very much like to buy the forthcoming Junkers Ju-52, but I probably won’t buy anything from Asobo if this is how they support their products and handle bugs. If the aircraft was not locked, the bug would have been corrected by the community ages ago.

1 Like

So then, happy birthday! First year is the hardest.

1 Like

Same. It’s the first thing I check after a new update. I know it’s not a super critical bug but given how easy it should be to fix, I really can’t understand why they didn’t fix it yet. They even modified things on the DA20 so it’s not that they don’t touch the Deluxe DA’s in general…

1 Like

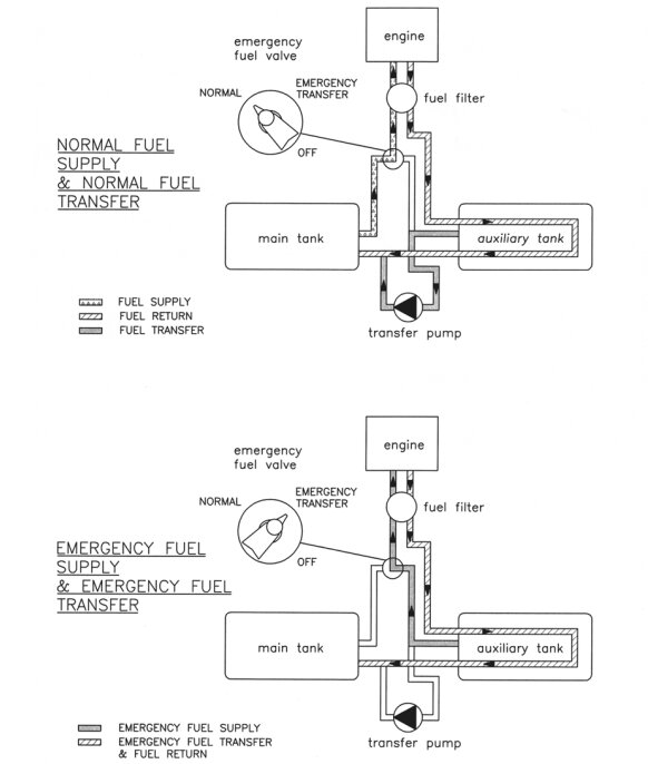
To be fair, DA20 was truly “unflyable” (a term used too often here). I hit a mountain side desperately trying to gain altitude with that thing when the center of gravity was broken. DA40 TDI is flyable, but it feels stupid to constantly use an “emergency” valve to fly. Especially, when it is almost the only switch you need while flying the aircraft.

1 Like

The CG bug on the DA20 was the reason for me to move completely to the DA40 TDI. Hitting a mountain side to gain altitude sounds hilarious!

Exactly. Everyone who seriously flies the DA40 TDI for more than half an hour should notice that the only means of switching tanks is an emergency valve. It just feels wrong to use it. When I first started flying the DA40 TDI, I even refused to use it for max realism.

Reading the POH again, I noticed that when using the emergency valve, fuel that is not injected is fed back into the main (=left) tank at approx. 20 gal/h, which is also not simulated.

I have to check if that’s modeled in the NG.

1 Like

They finally fixed it! The fuel pump is working in SU6!

It seems to be a bit slower than the one in the NG. I will check the POHs on that.

1 Like

Yes! The first thing I checked after updating :slight_smile: But the aircraft seemed really reluctant to turn while taxiing. A new bug?

1 Like

Just creating a thread on that. I’m glad it’s not just me. The NG seems even worse in that regard.

2 Likes